不銹鋼管件
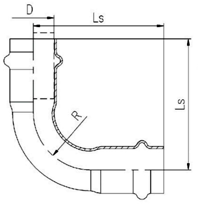
在管路系統中,彎頭是改變管路方向的管件。按角度分,有45°及90°180°三種最常用的,另外根據工程需要還包括60°等其他非正常角度彎頭。彎頭的材料有鑄鐵、不銹鋼、合金鋼、可鍛鑄鐵、碳鋼、有色金屬及塑料等。與管子連接的方式有:直接焊接(最常用的方式)法蘭連接、熱熔連接、電熔連接、螺紋連接及承插式連接等。按照生產工藝可分為:焊接彎頭、沖壓彎頭、推制彎頭、鑄造彎頭、對焊彎頭等。其他名稱:90度彎頭、直角彎、愛而彎等。
管道安裝中常用的一種連接用管件,連接兩根公稱通徑相同或者不同的管子,使管路做一定角度轉彎,公稱壓力為1-1.6Mpa。

在線地圖(點擊關閉)